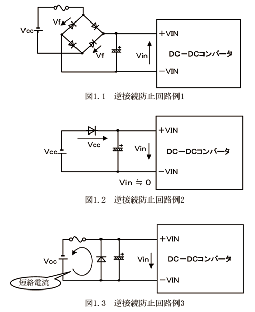
DC/DCコンバータの入力に逆電圧を印加すると故障の原因となります。以下に逆電圧印加を防止する回路を示します。表1.1にメリットとデメリットを示します。
表1.1 逆接続防止回路特徴
| 項目 | 逆接続時の動作 | メリット | デメリット | コスト | |
|---|---|---|---|---|---|
| 1 | 図1.1 回路例1 |
正常動作 |
|
|
高 |
| 2 | 図1.2 回路例2 |
出力せず |
|
|
低 |
| 3 | 図1.3 回路例3 |
出力せず ヒューズ断 |
|
|
中 |







