
• Products meeting SCCR
4-60A rated SCCR: 14kA (UL 508 compliant)
80-150A rated SCCR: 25kA (UL 508 compliant)
*Obtained in combination with the breaker
• Push down type terminal block (4-30A rated)
♦Ideal options for various noise‑reduction requirements♦
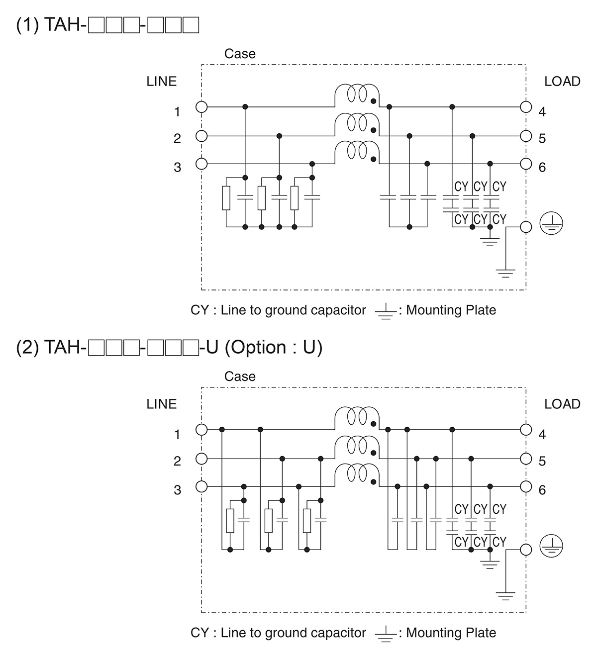
U: Improve differential mode attenuation type (50-150A rated)
Warranty period 5-year
*Some documents are not listed. Please contact us for details.
| CAD data | DXF |
Standard Model
|
|---|---|---|
| 3D CAD data | STEP |
Standard Model
|
| IGES |
Standard Model
|
TAH(1) - 50(2) - 223(3) - □(4)
(1) Model Name
Three-phase 500VAC 6-60A
Compact and low profile
High-attenuation from 150kHz to 1MHz
1-stage filter

Three-phase 500VAC 40-150A
General-purpose Book type
High-attenuation from 150kHz to 1MHz
1-stage filter

Three-phase 500VAC 10-150A
Book type
EMI/EMC Filter for motor drive system
2-stage filter

Three-phase 500VAC 50-300A
Low-profile
High-attenuation from 150kHz to 1MHz
2-stage filter

Three phase 500VAC 4-300A
General purpose
Low profile
High-attenuation type from 150kHz to 1MHz
1-stage filter