GMAseries

Rated Input : AC85 - 264V 1Φ
Rated Output Wattage : 300W
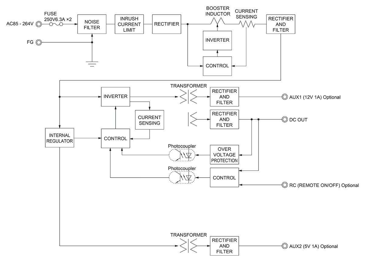
Rated Output Voltage : 12V, 24V, 48V, 56V
• High efficiency 93% typ (Input Voltage 230V, Output Voltage 24V)
• For medical electric equipment
• Suitable for BF application (Output-FG : 1MOPP, Input-Output : 2MOPP)
• 2x4 standard footprint
• With AUX1 (12V 1A), AUX2 (5V 1A) (Option)
Free warranty period 5-year (Refer to Instruction Manuals)
High power density power supply in a world-standard inch format.
Compact 2×4-inch design, ideal for space-constrained equipment.
Perfect for devices that require silent operation, such as medical equipment, as well as measurement instruments demanding high environmental resistance.
Harness
| Type | Model number | Description | DXF | |
|---|---|---|---|---|
| Harness | ||||
| H-IN-18 | Mating harness for input of the connector type power supply with J option. | PDF download | - | |
| H-IN-24 | Mating harness for input of the connector type power supply. | PDF download | - | |
| H-SN-18 | Please refer catalog of applicable model for usage. | PDF download | - | |
| H-SN-38 | Harness for using all functions. | PDF download | - | |
| H-SN-79 | Harness for using all functions. (AWG24 for 1A) | PDF download | - |
*Some documents may not be listed. Please contact us for more details.
| CAD data | DXF |
Standard model
|
|---|---|---|
| 3D CAD data | STEP |
Standard model
|
| IGES |
Standard model
|

Single phase 250VAC 6A
General purpose
Compact size
Attenuation type from 150kHz to 1MHz
1-stage filter
GM(1) A(2) 300(3) F(4) - □□(5) - □(6)
(1) Series name
(2) Single output
(3) Output wattage
(4) Universal input
(5) Output voltage
(6) Optional
C : with Coating
J1 : VH connector type (J.S.T.)
J3 : Horizontal input connector
VH connector type (J.S.T.)
R3 : with Sub features (5VAUX, 12VAUX, Remote)
Specification is changed at option, refer to Instruction manual (4 Option and Others).
* For further information and how to use, please see in Cosel product catalog.