PBAseries

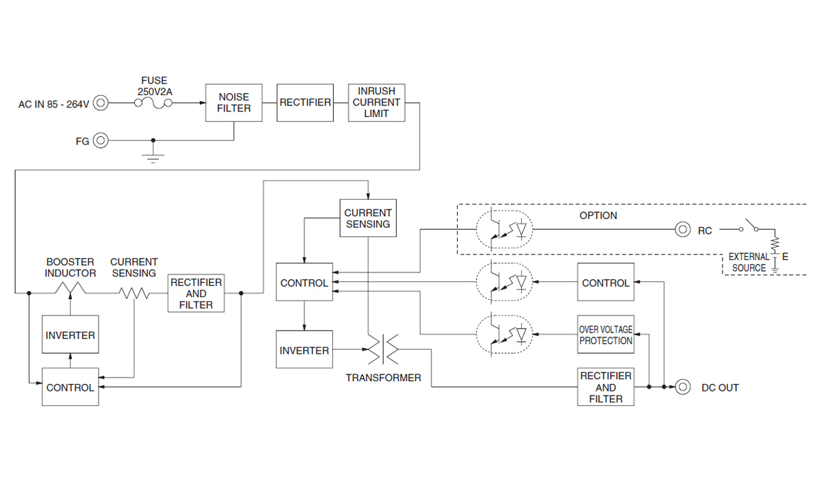
Rated Input: AC85 - 264V 1Φ
Rated Output Wattage: 50W
Rated Output Voltage: 3.3V,5V,9V,12V,15V,24V,36V,48V
• Harmonic attenuator (Complies with IEC61000-3-2): except PBA1500T
• Universal input (AC85 - 264V): PBA1500T AC170-264V 3Φ
• Complies with the SEMIF47 standard(Refer to instruction manual)
• Wide product lineup ranging from 10 W to 1500 W
Free warranty period 5-year (Refer to Instruction Manuals)
<p>Attachment Plate, Attachment for Replacement, DIN Rail Attachment Plate, Harness</p>
| Type | Model number | Description | DXF | |
|---|---|---|---|---|
| DIN rail Attachment Plate | ||||
| FD-PBA50 | DIN rail attachment plate. (DIN rail width : 35mm) |
PDF download | DXF download | |
| Attachment | ||||
| F-PBA50-1 | Attachment plate to facilitate mounting. (For the bottom side mounting) |
PDF download | DXF download | |
| F-PBA50-2 | Attachment plate to facilitate mounting. (For the front side/back side mounting) |
PDF download | DXF download | |
| Harness | ||||
| H-IN-3 | Mating harness for input with J1 option. (Mfr : J.S.T.) | PDF download | - | |
| H-IN-27 | Mating harness for input with J1 option. (Mfr : J.S.T.) | PDF download | - | |
| H-OU-9 | Mating harness for output of the connector type power supply. (Mfr : J.S.T.) | PDF download | - | |
| H-RC-1 | Harness for using option : -R. | PDF download | - | |
| H-SN-18 | Please refer catalog of applicable model for usage. | PDF download | - |
*Some documents may not be listed. Please contact us for more details.

Single phase 250VAC 6A
General purpose
High-attenuation type from 150kHz to 1MHz
1-stage filter

PB(1) A(2) 50(3) F(4) - 5(5) - □(6)
(1) Series name
(2) Single output
(3) Output wattage
(4) Universal input
(5) Output voltage
(6) Optional
C: with Coating
G: Low leakage current (0.15mA max/ACIN 240V)
E: Low leakage current and EMI class A (0.5mA max/ACIN 240V)
T: Vertical terminal block
J1: VH (J.S.T.) connector type
R: with Remote ON/OFF
N: with Cover (Only 24V UL508 is acquired)
N1: with DIN rail and Cover
V: Output voltage setting potentiometer externally
* For further information and how to use, please see in Cosel product catalog.